庫克說VR很酷并不是小眾技術 蘋果正憋大招(4)
在幾年之前,人們還很難想到,會有一種技術會讓眾多科技巨頭紛紛投身其中,恍如飛蛾撲火,哦,不對,是趨之若鶩。你能想象扎克伯格、納德拉、佩奇和庫克之間有什么相似之處?答案是:他們都著迷于虛擬現實。庫克說:“這并不是小眾技術,它真的很酷,會有很多有意義。”...
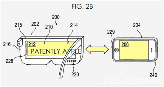
蘋果前年以3.6 億美元收購 PrimeSense的事實,彼時外界對其收購意圖做過不少猜測,客廳啊,室內導航等等。自從 2006 年以來,蘋果一直在低調的申請多項關于頭戴設備的專利,蘋果之前還申請了一項名為goggle system的頭戴設備專利,該專利已被批準。

Apple Watch、Apple Car,VR 設備,這些品類都非蘋果所開創,但總會贏得人們最多的期待,哪一個會是蘋果下一款革命性的產品呢?apple watch目前蘋果已經占據市場50%以上的份額,未來的VR呢?
分享到:
投訴收藏

